882k
год назад · 1 фото · 7968 просмотров · 36 комментариев
Подростки зашли в лифт жилом доме в Уфе и поехали на нужный этаж. Внезапно на третьем этаже лифт резко остановился.
Девочки вызвали диспетчера. В этот момент свет погас и лифт сорвался вниз. Подростки не пострадали и отделались лишь испугом.
Не удевлюсь если это дерьмо уЩербинского Лифтостроительного (АО "ЩЛЗ").
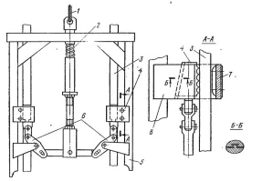
Там и на советских то лифтах ловилка стояла.
Каждые 1-2 этажа фиговины такие, они при обрыве троса то ли сжимали направяющие по поторым лифт ходит, то ли выдвигали чото.
В этом плане старые лифты "в сетке" почти как музей были. Вся шахта на виду.
Ну и люк в крыше редко закрывался.
В новых очевидно что чото тоже есть.
в советских было если на ходу в лифте подпрыгнешь, тут же срабатывала блокировка и сидел в кабине пока лифтер не выпустит
Шутка шутками, но лифт падает вверх! Т.к. противовес тяжелее кабины, но в любом случае бы сработали ловители, как по движению вверх, так и по движению вниз!
Оба варианта бывают. С пассажирами лифт может весить больше противовеса. Сейчас все лифты оборудованы несколькими системами защиты от падения.
Один из сильнейших страхов детства, пешком на 10-й этаж ходил .
Как колени себя чувствуют?
Да отлично
Систему блокировки при обрыве троса придумали больше века назад.
По логике лифты вообще не должны падать.
Они и не падают, если механики следят за устройствами безопасности, а если нет, то дело случая. В регионах из-за большой нехватки механиков забили на ежегодные проверки лифтов.
лифтов в стране не хватает сотни тысяч, а Омский завод по их производству банкротится.
А он единственный в стране?
За это нужно благодарить набиуллину и силуанова. Именно их политика уничтожения экономики приводит к уничтожению реального сектора экономики.
нет, но сам факт, производителей именно российских несколько, но больших немного
Если бы заводу проплатили заказ на эти сотни тысяч лифтов, он бы не банкротился.
думаю не всё так просто
Вообще-то лет 100 назад Отис придумал систему, делающую невозможным падение в случае обрыва или ослабление троса. Вот тут не шутки а реальное уголовное дело о том, что система на лифте не стоит. И проверка всех лифтов
Вы верьте громким заголовкам больше! он и сел на ловители. Где он сорвался?
Действительно, заголовок громкий, но абсолютно лживый.
Ты решил что систему не видно на камеру, значит не стоит?
Ты бы поискал как работает эта система
Ну ничего. Будут теперь пешком ходить - к двадцати годам жопки накачают такие, что от женихов отбоя не будет. Во всем надо искать позитив.
Со школьными ранцами, с учебниками много не находишь. Прощай коленки. А вообще очень удобно. Сломался лифт, да и хрен с ним. Сломался водопровод, с ведрами по лестнице, качать жопки. ЖКХ аплодируют. Электричество? Да и хрен с ним, не будут в инете видосики смотреть и писать всякую ерунду, как я сейчас.
Это не первоклашки. Они по школе туда-сюда не один десяток пролетов за день могут находить. Уж разок домой подняться даже на 9-й этаж - ничего страшного не будет.
Плюс одна фобия в копилку.
А как же " лайфхак" что нужно подпрыгнуть перед ударом лифта? Нерабочий оказался?
Лучший способ - ложиться плашмя на спину с широ расставленными руками и ногами, типа звёздочка.
Я в таком лифте не смогу так лечь, маловат лифт. Максимум, в позе эмбриона.
Не нужно никаких разрушителей, даже много мозгов не нужно - посмотрите как падают вещи, а потом посмотрите как вы прыгаете.
1. Прыжок должен быть бешенной силы, чтобы хоть чуточку скомпенсировать падение.
2. Прыгнуть нужно четко в момент, ограниченный примерно 0,01 секунды. Вы даже глядя на секундомер не сможете кнопкой поймать этот момент, не говоря уже вслепую и резким прыжком.
3. При падении вы будете дизориентированы. А времени на реагирования не будет вообще. Времени испугаться даже не будет.
4. При падении ваш вес будет минимальным (сила реакции пола лифта на вашу падающую массу) и вряд ли получится вообще прыгнуть, хоть как-то.
Ситуация которая даже по одному пункту не выполнима, а тут их ЧЕТЫРЕ!
разрушители были упомянуты с целью, если надо, углубиться в суть вопроса и хорошо с пользой для дела провести время.
Согласен с Михаилом. Да и сами МифБастеры могли бы и не проводить эксперимент... всё же и так ясно, да? Но ведь в том то и фишка, что трёп остаётся трёпом, и ничего так не подтверждает трёп, как эксперимент. Они как раз это всё и подтвердили, что ты просто не знаешь когда лифт упадёт на землю. А если бы и видел само падение, то всё равно подгадать прыжок невозможно.
Все теории, лучше подтверждать на практике. Да и шоу было реально прикольное. Жаль, что к концу (как и в других шоу) у них просто закончились свежие идеи, да и ведущие уже друг другу поднадоели. Там логично было закрывать шоу. Зато 15-20 лет спустя их до сих пор цитируют.
Фобия на всю жизнь, у них.
Ловители отработали, скорее всего. Иначе с высоты третьего этажа как минимум калеками бы остались...
Они и должны отработать в нормальном лифте. Если их конечно физически со своих мест не выкорчевали.
Если бу упал с третьего этажа, ничего бы с ними не случилось, если бы упали без лифта, то покалечились бы